Slik monterer du våre innerdører

En innerdør med karm fra Harmonie er noe du enkelt kan montere selv. Om du har en opprinnelig dør og ønsker å bytte dørbladet gjør «Snap-in» hengsler det meget enkelt. «Snap-in»ble standard på alle nye dører i 1972. Vi forteller deg her hvordan du går frem når du skal montere ny innerdør med karm og terskel.

 


Før montering

Kontroller att du har fått riktig produkt og at det er fri for skader. Monter ikke et ­defekt produkt uten avtale med Harmonie. Eventuell skade SKAL ­fotograferes før montering. Monteres et skadet produkt, dekkes ikke ­utgifter vedrørende bytte av produkt.

Før karmen skrus sammen, må du bestemme hvilken slagretning døren skal ha.

Standard terskel skal ligge mellom sidevangene.

Flat mellomliggende terskel skal flukte med nedre del av sidevangene

Flat terskel skrues fast under sidevangene. Husk å forborre i eiketerskelen slik at den ikke sprekker.

1.) Underlag i vater: Påse at underlaget er i vater og riktig høyde. VIKTIG med god støtte under hele terskelen.

2. Karm i døråpningen: Sett karmen i åpningen, påse at terskel er i vater.
Kloss karmen fast og påse at sidevangene er i lodd alle veier. 
Kontroller at diagonalen er lik begge veier.

 

3. Hengsler: Skru fast hengslesiden av karmen og øverste skruehull på låskasse siden.

4. Skru fast: Sett på dørbladet og juster resten av karmen etter dørbladet. Skru fast resterende skruer i karmen.

 

5. Isoler: Isoler tomrommet mellom stender og karm med steinull eller glassvatt.

Viktig at karmen ikke er vridd

6. Ved bruk av foring, må toppen av sidevangen tilpasses foringsporet.

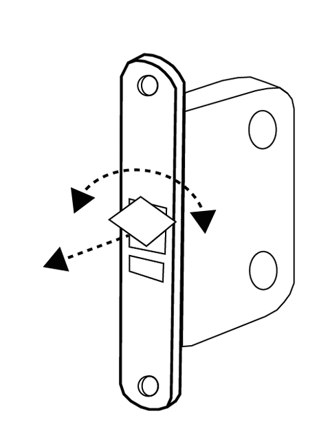
7. Vridefallen vries etter slagretningen på døren.
Trekk den ut og vri.

 


Alle våre innerdører har justerbare hengsler.
Justeres med 4 mm umbrakonøkkel.

Innerdør med sidefelt

Hull til skåtetappen må borres i terskel og toppstykke ved montering, da hullene blir plassert forskjellig utfra hvilken slagretning døren har.

Ved flat terskel må skåtetappen forlenges. Bruk flatt skrujern til å løfte opp fjærstålet og trekk ut tappen til det ytterste hullet.


Bruk og vedlikehold

Miljøbevisst overflate på våre innerdører
Våre dører er malt med miljøvennlig vannbasert maling. Denne typen maling gir en holdbar overflate samtidig som den reduserer skadelige utslipp til   miljøet. Vannbasert maling bidrar til et sunnere inneklima og oppfyller strenge miljøkrav.


 Bruk av innerdør og vrider

For å minimere slitasje på dørene anbefales at dørvrider er skrudd fast og riktig montert. Sørg for at dørvrideren fungerer jevnt, og juster den om  nødvendig for å unngå unødig belastning på dørens overflate og låsemekanisme. Bruk alltid vrideren for å lukke døren, ikke hendene.


Vedlikehold av innerdører
Regelmessig vedlikehold av dørene sikrer lang levetid og et pent utseende. Tørk av dørene med en lett fuktig klut og mildt såpevann ved behov. Unngå   bruk av sterke rengjøringsmidler som kan skade overflaten. Smør hengslene og låskassen med egnet smøremiddel etter behov for å sikre jevn og problemfri funksjon.

Kontroller om skruer på vrider må etterstrammes, gjøres ved behov.